Ugradbena puša za ugljični stup s rotirajućim poklopcem

Od nehrđajućeg čelika s rotirajućim zatvaračem od 180°. Priprema za odvod vode za cijev Ø 12 mm. Zatvarač diskretno štiti čašu kada se ne koristi. Zatvarač se može prilagoditi logom na zahtjev.

Master items

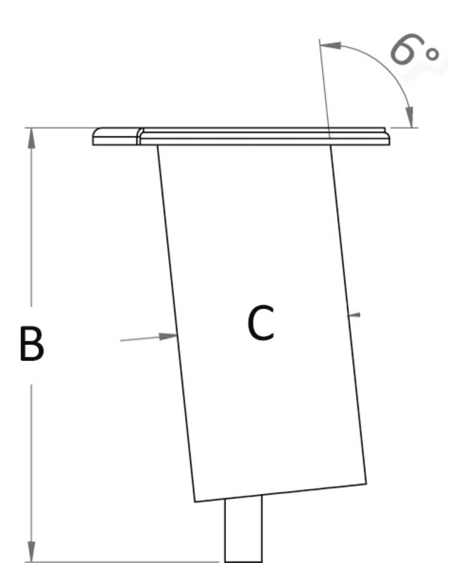
Artikal Za stupove od Ø mm Opis mm - A mm - B mm - C mm - D  
38 Ležaj ugradbeni ravni 95 141,5 56 74
PZ
Kolicina u narudžbi


38 Ležaj ugradbeni nagnuti pod 6° 95 141,5 56 74
PZ
Kolicina u narudžbi


38 Kontraflanđa za montažu ugradbenog ležaja 95 - - 74
PZ
Kolicina u narudžbi


50 Ležaj ugradbeni ravni 108 150 70 90
PZ
Kolicina u narudžbi


50 Ležaj ugradbeni nagnuti pod 6° 108 150 70 90
PZ
Kolicina u narudžbi



Find nearest store: