Choisissez votre langue
Pays/Devise
Via Pacinotti, 12 - 20054 Segrate (MI) - Italy
Sede Legale / Registered office: Via della Moscova 3 - 20121 - Milano. VAT number: 10091570969 - Capital Stock 1.000.000 i.v. Sole company
Pour être informé de notre actualité
Boating guides and products
blog.osculati.com
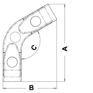
Voir la série complète Chaumard à galets
de l’article